欢迎您访问加拿大pc28官网开奖结果在线官方网站!

GL系列产品应用场景

自杰尔精密专注精益管及配件研发和制造以来,在多个制造行业领域已有成功案例,不断的帮助该行业的企业实现智能制造,降本增效...

技术支持

杰尔精密专注研发符合中国制造体系和工程改善理念的组件,在技术上大力扶持我们的经销商客户,不仅仅提供相关技术资料,也为我们的经销商提供服务品质保障...

新闻动态

分别从新产品动态、公司新闻、行业新闻、展会信息来了解杰尔最新的新闻资讯,最新的研发成果,杰尔参展信息等...

加拿大pc28官网开奖结果在线

加拿大pc28官网开奖结果在线

从杰尔创始人到核心管理人员,都是来自世界500强的日资企业的生产制造现场,对于改善帮助企业提升效率就是唯一的KPI,好的改善idear需要的就是功能齐全的连接组件来落地,带着这样的痛点创办的杰尔企业...

  • 杰尔源头工厂
  • 杰尔
  • 精益管应用场景
  • 精益管

精益管连接件尺寸是多少?

杰尔 2024.06.11 1530

  精益管连接件是精益管衔接在一起的配件,也叫精益管配件,起着各个角度锁付的作用,那么精益管连接件尺寸是多少?这需要看是哪种材料,今天杰尔精密从2款接头为大家讲解下它的尺寸。

  精益管连接件1:外接直接头

  外接直接头 是90”结构的基本外接头,外接直接头框架结构的主要连接件(也可安装在43mm管材外壁卡扣上)。下面是它的尺寸图:

精益管连接件尺寸是多少?

精益管连接件尺寸是多少2

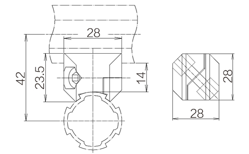
  精益管连接件2:90°交叉接头

  90°交叉接头适用于两根铝管十字交叉的连接(也可安装在43mm管材外壁卡扣上)。下面是它的尺寸图:

精益管连接件尺寸是多少3

杰尔最新产品 更多+
  • 正向对接装置套件

    用于料车料架对接之后自动上下物料,正向对接场景可使用,包含正向碰撞器、尼龙绳、封盖、防撞套、复位拉簧…

  • 侧向对接装置套件

    用于料车料架对接之后自动上下物料,侧向对接场景可使用,包含滚轮、滚轮定位器、封盖、防撞套、复位拉簧等…

  • 后装面板压条

    用于40系列槽宽8.2欧标型材安装封板,安装便捷,灵活拆装。

最新新闻 更多+
Baidu
map